Qingdao Ruichen Sealing Technology Co., Ltd.
Qingdao Ruichen Sealing Technology Co., Ltd.
Aktualności

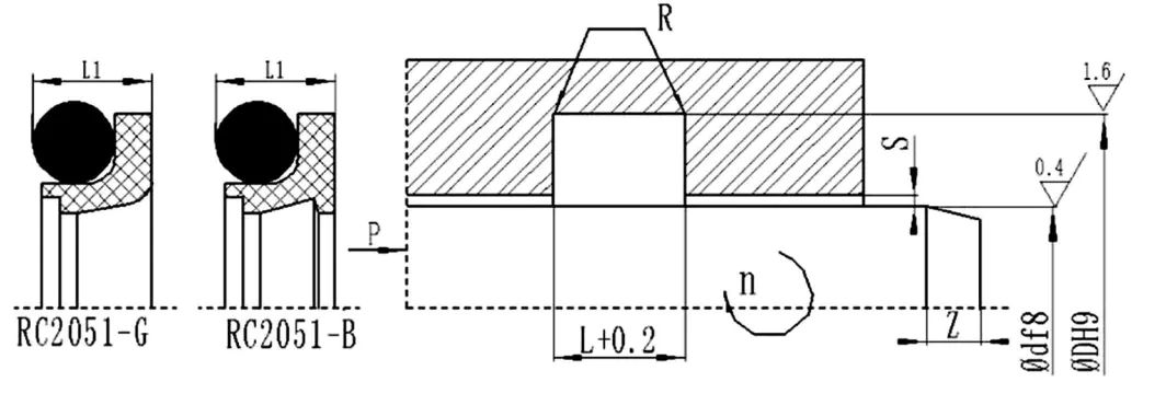
Uszczelnienie łącznika przekładni RC2051-B/g dla obrotowego wału

Ta pieczęć składa się z wypełnionego pierścieniem uszczelniającym ząbkowanymMateriał PTFEiO-ring gumowy pierścień, odpowiednie do jednokierunkowego uszczelnienia hydraulicznego i pneumatycznego ruchu wzajemnego i obrotowego. Ma charakterystykę wysokiego życia, niskiego tarcia, dobrej uszczelniania, małej przestrzeni konstrukcyjnej i może być używany do uszczelnienia ciśnienia wody. Jest on podzielony na RC2051-B (typ standardowy) i RC2051-G (typ duży). Specjalna konstrukcja warg RC2051 ma dobry efekt uszczelniający i wyjątkowo niski opór tarcia nawet w przypadku pneumatycznej wzajemnej lubUszczelki obrotowe.

Wybór materiału

1. Można wybrać pasujący materiał O-ring: R01 Guma nitrylowa (NBR), R02 Fluororubber (FKM) itp.

2. Materiał pierścienia uszczelniający: standardowy materiał PTFE4, inne materiały opcjonalne PTFE1, PTFE2, PTFE3, PTFE5.


Schemat strukturalny



Powiązane wiadomości
Zostaw mi wiadomość
X
Używamy plików cookie, aby zapewnić lepszą jakość przeglądania, analizować ruch w witrynie i personalizować zawartość. Korzystając z tej witryny, wyrażasz zgodę na używanie przez nas plików cookie. Polityka prywatności
Odrzucić Przyjąć