|
Ciśnienie/MPa |
Temperatura /°C |
Prędkość /m/s |
Średni |
|
≤40 |
-35~+100 (z pasującymi O-ringami NBR) |
≤2 |
Olej hydrauliczny, emulsja, woda, gaz itp. |
-20~+200 (z pasującymi oringami FKM) |
1. Odpowiednie materiały na pierścienie uszczelniające typu O-ring obejmują: R01 kauczuk nitrylowo-butadienowy (NBR), R02 kauczuk fluorowy (FKM) itp.
2. Materiały pierścieni uszczelniających: Materiały standardowe PTFE3 i PTFE4; inne opcjonalne materiały obejmują PTFE1, PTFE2 i PTFE5.
Ruichen od początku prowadziła niezależne badania, rozwój i produkcję surowców, realizując kontrolę całego łańcucha produktów.
1. Inżynieria tworzyw sztucznych i materiałów kompozytowych: Jako rdzeń przyjmujemy politetrafluoroetylen (PTFE), od mieszania, spiekania do formowania, niezależnej produkcji wszelkiego rodzaju rur i prętów wypełnionych modyfikowanymi materiałami kompozytowymi, a następnie precyzyjnej obróbki w uszczelki. Zapewnia to stabilność i możliwość dostosowania właściwości materiału.
2. Wysokowydajny elastomer poliuretanowy: zaczynamy od odlewania prepolimerów, niezależnie produkujemy wysokiej jakości materiały na rury i pręty z poliuretanu i przetwarzamy je na różnego rodzaju uszczelki, które charakteryzują się wyjątkową odpornością na zużycie, odpornością na ciśnienie i odpornością na hydrolizę.
Przykład zamówienia
Zamawianie modelu RC2054 — 80×69×4,2 — PTFE3 — R01 Model-D*d*L- Kod materiału Zamawianie modelu RCX18 — 80×69x4,2 — HPU Model-D*d*L- Kod materiału
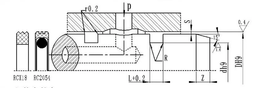
Dane techniczne i tabela parametrów (dostępna jest dowolna specyfikacja w zakresie parametrów)
|
Zakres przysłony DH9 |
Średnica wykopu dh9 |
Szerokość wykopu L+0,2 |
Luz promieniowy Smax |
Zaokrąglone rogi Rmaks |
Ścięcie Zmin |
|
|
0 ~ 10 MPa |
10 ~ 20 MPa |
|||||
|
8 ~ 39 |
D-4.9 |
2.2 |
0.15 |
0.1 |
0.4 |
2 |
|
40 ~ 79 |
D-7.5 |
3.2 |
0.2 |
0.15 |
0.6 |
3 |
|
80 ~ 132 |
D-11.0 |
4.2 |
0.25 |
0.2 |
1.0 |
4 |
|
133~329 |
D-15.5 |
6.3 |
0.3 |
0.25 |
1.3 |
5 |
|
330 ~ 669 |
D-21.0 |
8.1 |
0.3 |
0.25 |
1.8 |
7 |
|
670 ~ 1500 |
D-28.0 |
9.5 |
0.45 |
0.3 |
2.0 |
8 |
|
D |
d |
L |
D |
d |
L |
D |
d |
L |
D |
d |
L |
|
8 |
3.1 |
2.2 |
50 |
42.5 |
3.2 |
170 |
154.5 |
6.3 |
380 |
359.0 |
8.1 |
|
10 |
5.1 |
2.2 |
55 |
47.5 |
3.2 |
180 |
164.5 |
6.3 |
390 |
369.0 |
8.1 |
|
12 |
7.1 |
2.2 |
60 |
52.5 |
3.2 |
190 |
174.5 |
6.3 |
400 |
379.0 |
8.1 |
|
14 |
9.1 |
2.2 |
63 |
55.5 |
3.2 |
200 |
184.5 |
6.3 |
420 |
399.0 |
8.1 |
|
15 |
10.1 |
2.2 |
65 |
57.5 |
3.2 |
210 |
194.5 |
6.3 |
450 |
429.0 |
8.1 |
|
16 |
11.1 |
2.2 |
70 |
62.5 |
3.2 |
220 |
204.5 |
6.3 |
480 |
459.0 |
8.1 |
|
18 |
13.1 |
2.2 |
75 |
67.5 |
3.2 |
230 |
214.5 |
6.3 |
500 |
479.0 |
8.1 |
|
20 |
15.1 |
2.2 |
80 |
69.0 |
4.2 |
240 |
224.5 |
6.3 |
520 |
499.0 |
8.1 |
|
22 |
17.1 |
2.2 |
85 |
74.0 |
4.2 |
250 |
234.5 |
6.3 |
550 |
529.0 |
8.1 |
|
24 |
19.1 |
2.2 |
90 |
79.0 |
4.2 |
260 |
244.5 |
6.3 |
600 |
579.0 |
8.1 |
|
25 |
20.1 |
2.2 |
95 |
84.0 |
4.2 |
270 |
254.5 |
6.3 |
630 |
609.0 |
8.1 |
|
28 |
23.1 |
2.2 |
100 |
89.0 |
4.2 |
280 |
264.5 |
6.3 |
650 |
629.0 |
8.1 |
|
30 |
25.1 |
2.2 |
105 |
94.0 |
4.2 |
290 |
274.5 |
6.3 |
670 |
642.0 |
9.5 |
|
32 |
27.1 |
2.2 |
110 |
99.0 |
4.2 |
300 |
284.5 |
6.3 |
700 |
672.0 |
9.5 |
|
35 |
30.1 |
2.2 |
115 |
104.0 |
4.2 |
310 |
294.5 |
6.3 |
750 |
722.0 |
9.5 |
|
36 |
31.1 |
2.2 |
120 |
109.0 |
4.2 |
320 |
304.5 |
6.3 |
800 |
772.0 |
9.5 |
|
38 |
33.1 |
2.2 |
125 |
114.0 |
4.2 |
330 |
309.0 |
8.1 |
1000 |
972.0 |
9.5 |
|
40 |
32.5 |
3.2 |
130 |
119.0 |
4.2 |
340 |
319.0 |
8.1 |
|
|
|
|
42 |
34.5 |
3.2 |
140 |
124.5 |
6.3 |
350 |
329.0 |
8.1 |
|
|
|
|
45 |
37.5 |
3.2 |
150 |
134.5 |
6.3 |
360 |
339.0 |
8.1 |
|
|
|
|
48 |
40.5 |
3.2 |
160 |
144.5 |
6.3 |
370 |
349.0 |
8.1 |
|
|
|
Uwaga: Wymagane specyfikacje nie są tutaj wymienione; prosimy o kontakt z naszą firmą. Oferujemy produkty o maksymalnej średnicy 2800mm.



Adres
No.1 Ruichen Road, Dongliuting Industrial Park, dystrykt Chengyang, miasto Qingdao, prowincja Shandong, Chiny
Tel