Pierścień uszczelniający w kształcie gwiazdy jest czterodrębną uszczelką o kształcie X, więc nazywany jest również X-Ringiem. Jest to poprawa i ulepszenie na podstawie O-ring. Jego przekrojowe wymiary są takie same jak w przypadku o-ringu amerykańskiego standardu AS568A i mogą zasadniczo zastąpić użycie O-ring.
W porównaniu z O-ringiem pierścień uszczelniający w kształcie gwiazdy tworzy wnękę smarowania między wargami uszczelniającymi, która ma mniejszy odporność na tarcia i niewielką odporność początkową. Ponieważ jego flash krawędzi znajduje się w wklęsłej części przekroju, efekt uszczelnienia jest lepszy. Nieokrągłowy przekrój skutecznie unika zjawiska toczenia podczas ruchu wzajemnego.
Zakres aplikacji pierścienia uszczelniającego w kształcie gwiazdy jest bardzo szeroki. Wybierz odpowiedni materiał zgodnie z temperaturą, ciśnieniem i medium. Aby uwolnić pierścień uszczelniający w kształcie gwiazdy do danego zastosowania, należy wziąć pod uwagę wzajemne ograniczenia między wszystkimi parametrami roboczymi. Przy określaniu zakresu aplikacji należy wziąć pod uwagę temperaturę szczytową, ciągłą temperaturę roboczą i cykl roboczy. Podczas obrotowych okazji należy również rozważyć wzrost temperatury spowodowany ciepłem tarcia.
Ten pierścień uszczelniający w kształcie X jest samozwańczym elementem uszczelniającym. Siła uszczelniająca w stanie początkowym zależy od ilości kompresji i twardości materiału. Wraz ze wzrostem ciśnienia układu rozszerzenie kompresji pierścienia uszczelnienia wzrośnie, a całkowita siła uszczelniająca wzrośnie, tworząc niezawodne uszczelnienie.
Funkcje i aplikacje produktu:
Wybór pierścienia uszczelniającego w kształcie gwiazdy
Statyczne uszczelnienie lub wzajemne ruch liniowy
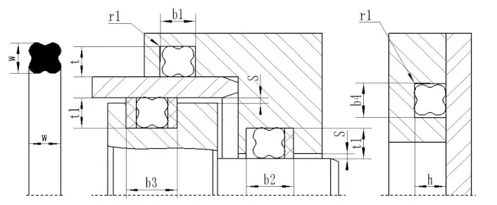
(1) Uszczelnienie otworu: wewnętrzna średnica pierścienia uszczelniającego w kształcie gwiazdy powinna być kompatybilna z rowkiem lub mniej niż około 2% dolnej średnicy rowka. Ponieważ siła przedpompresyjna generowana przez kompresję wstępną może skutecznie zapobiec skręceniu i przewinieniu pierścienia uszczelnienia.
(2) Uszczelnienie wału: wewnętrzna średnica pierścienia uszczelniającego w kształcie gwiazdy powinna być równa lub nieco większa niż zewnętrzna średnica wału, którą można kontrolować w ciągu 1%. Pierścień uszczelnienia będzie łatwiejszy do zainstalowania i będzie miał dłuższą żywotność.
Uszczelnienie obrotowe
Wewnętrzna średnica pierścienia w kształcie gwiazdy jest o około 2 ~ 5% większa niż średnica wału, który uszczelnia. Ponieważ pierścień uszczelnia generuje tarcie i ciepło, gdy zostanie użyty w obrotu, a elastomer kurczy się po podgrzaniu (efekt ogrzewania Joule). Aby zapewnić smarowanie i niezawodne działanie pierścienia uszczelnienia, należy wybrać pierścień w kształcie gwiazdy o większej średnicy wewnętrznej niż średnica wału. Zasadniczo pierścień uszczelnia z mniejszym przekrojem może zaspokoić potrzeby uszczelnienia statycznego i odwrotnie, należy zastosować pierścień uszczelniająca z większym przekrojem, aby spełnić wymagania dynamicznego uszczelnienia. W przypadku wysokiego ciśnienia lub dużej przerwy wytłaczania należy wybrać materiał gumowy o wyższej twardości. Najlepszym sposobem jest dodanie pierścienia podkładowego PTFE, aby zapobiec uszkodzeniom wytłaczania wysokiego ciśnienia.
Tworzywo
Materiał jest na ogół shaw a70 nitrylowa gumka NBR. Inne materiały mogą odnosić się do materiałów używanych do ringów.
| Tabela 2-1 Parametry wydajności | ||||
| Parametr techniczny | Pieczęć dynamiczna | Pieczęć statyczna | ||
| Ruch wzajemny | Ruch obrotowy | |||
| Presja robocza (MPA) | Z pierścieniem zatrzymującym | 30 | 15 | 40 |
| Bez zatrzymywania pierścienia | 5 | - | 5 | |
| Prędkość (M/s) | 0.5 | 2.0 | - | |
| Temperatura (℃) | Ogólne okazje: -30 ℃ ~+110 ℃ | |||
| Materiały specjalne: -60 ℃ ~+200 ℃ | ||||
| Obrót okazje: -30 ℃ ~+80 ℃ | ||||
Zalecany rowek pierścienia gwiazd
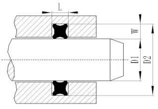
| Pierścień uszczelniający w kształcie gwiazdy (amerykański standard AS568A) | |||||||||
| Uszczelka pręta tłokowego (do wału) | Pieczęć tłokowa (otwór) | ||||||||
![]() |
![]() |
||||||||
| Model produktu | Specyfikacje i wymiary | Uszczelki prętowe | Pieczęć tłokowa | Szerokość gniazda |
|
||||
| Średnica wewnętrzna DN | Średnica przekroju CS | D1 | D2 | D3 | D4 | L | W | ||
| AS001 AS002 AS003 |
0.74 1.07 1.42 |
1.02 1.27 1.52 |
|
|
|
|
|
|
|
| AS004 AS005 AS006 |
1.78 2.57 2.9 |
1.78 1.78 1.78 |
3 | 6.1 | 6 | 2.9 | 2 | 1.55 | |
| AS007 AS008 AS009 |
3.68 4.47 5.28 |
1.78 1.78 1.78 |
3.5 4.5 5 |
6.6 7.6 8.1 |
7 8 9 |
3.9 4.9 5.9 |
2 2 2 |
1.55 1.55 1.55 |
|
| AS010 AS011 AS012 |
6.07 7.65 9.25 |
1.78 1.78 1.78 |
6 8 9 |
9.1 11.1 12.1 |
10 11 13 |
6.9 7.9 9.9 |
2 2 2 |
1.55 1.55 1.55 |
|
| AS013 AS014 AS015 |
10.82 12.42 14 |
1.78 1.78 1.78 |
11 13 14 |
14.1 16.1 17.1 |
15 17 18 |
11.9 13.9 14.9 |
2 2 2 |
1.55 1.55 1.55 |
|
| AS016 AS017 AS018 |
15.6 17.17 18.77 |
1.78 1.78 1.78 |
16 17 19 |
19.1 20.1 22.1 |
20 21 23 |
16.9 17.9 19.9 |
2 2 2 |
1.55 1.55 1.55 |
|
| AS019 AS020 AS021 |
20.35 21.95 23.52 |
1.78 1.78 1.78 |
21 22 24 |
24.1 25.1 27.1 |
25 26 28 |
21.9 22.9 24.9 |
2 2 2 |
1.55 1.55 1.55 |
|
| AS022 AS023 AS024 |
25.12 26.7 28.3 |
1.78 1.78 1.78 |
26 27 29 |
29.1 30.1 32.1 |
30 31 33 |
26.9 27.9 29.9 |
2 2 2 |
1.55 1.55 1.55 |
|

Adres
No.1 Ruichen Road, Dongliuting Industrial Park, dystrykt Chengyang, miasto Qingdao, prowincja Shandong, Chiny
Tel